
| 名称 | 【引擎6CTA8.3-G1的发动机冷却液出气管组】 康明斯直软管接头,参数及图片 |
| 相关机型 | ISL 6C QSC8.3 C8.3 |
| 品质 | OEM/aftermarket |
| ID号 | VO5-63K-458 |
| 价格 | 授权可见 点击询价 |
| 主要用途 | 康明斯柴油机用的直软管接头发动机冷却液出气管组6CTA8.3-G1引擎[详细说明>>] |
打印本页
相关参数和图片:
| 研发时间 | 部分用途 | 产品名称 |
| 07年FEB | C8.3,ISC CM2150,6L8.9,ISC8.3 CM2250,ISL G CM2180,QSL9 CM2250,QSC8.3 CM554,ISL9 CM2250,QSL9 CM554,6C,QSL9 CM850,C Gas Plus CM556,C8.3G,G8.3,L Gas Plus CM556,ISC CM554,QSC8.3 CM2250,QSL9 G CM558,ISC CM850,ISL CM554,QSC8.3 CM850,ISL CM2150,ISL CM2150 SN,ISL CM850,GTA8.3 CM558 | Coupling, Plain Hose |
| ||
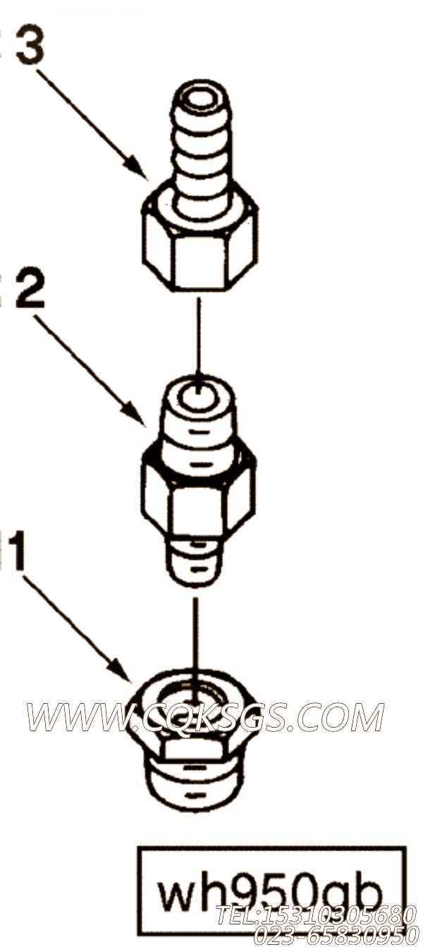
| 图号 | ID号 | 零件名称 | 一般装配量 | 销售(是/否) | 订购链接 |
| WH9051 | Engine Vent Plumbing | 否 | |||
| 1 | S 967 | 减少管衬套 | 1 | 是 | 订购 |
| 2 | 3911915 | 单向阀 | 1 | 是 | 订购 |
| 3 | 3911925 | 纯胶管耦合 | 1 | 是 | 订购 |
地址:重庆市沙坪坝区大水井1号 邮编:400031 联系电话: 023-65830950 传真:023-65830951 渝ICP备11004113号
版权所有 Copyright(C) 泽成机械